7 高性能医疗器械轴承
7.1 医疗器械轴承概述
高性能医疗器械主要包括医疗检测与试验分析,手术及服务器械与机器人等。目前应用最广泛的是大型医疗器械中的医学影像设备,包括医学影像诊断设备和医学影像治疗设备。以CT机为例研究医疗器械轴承的结构、性能与技术要求。
医用CT机主轴承应用于固定CT机架和旋转扫描部分之间的连接部位,是CT机旋转扫描部分的关键部件,作用是传递并承受X线管、准直仪、探测器、滑环等装置产生的轴向载荷、径向载荷和倾覆力矩,需满足CT机较高转速、低噪声、高精度、低振动和长寿命的使用要求。
7.2 CT机主轴承的种类
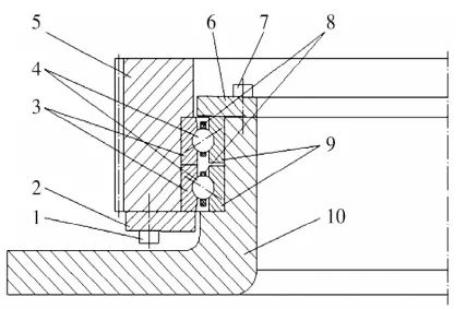
CT机主轴承主要有钢丝滚道轴承(图21)、等截面薄壁轴承(图22)、空气轴承或其他先进结构轴承、主旋转轴承等4类。其中,空气轴承为悬浮类结构,主要用在第4代CT机上,目前尚在完善阶段。

1,8—内圈;2—钢球;3,5—钢丝滚道;4—外圈;6—弹性衬垫;7—保持架。
图21 CT机钢丝滚道轴承结构示意图
Fig.21 Structure diagram of wire raceway bearing for CT machine

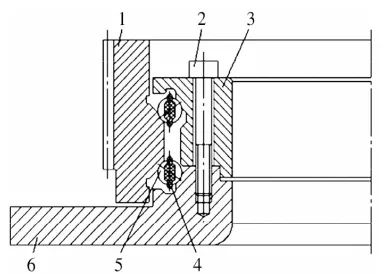
1—外圈压板螺钉;2—外圈压板;3—外圈;4—钢球;5—轴承座;6—内圈压板;7—内圈压板螺钉;8—保持架;9—内圈;10—CT机主轴。
图22 CT机等截面薄壁轴承结构示意图
Fig.22 Structure diagram of uniform section thin-walled bearing for CT machine
洛阳LYC轴承有限公司针对国外镶嵌式结构轴承存在着零件加工难度大,生产成本高,结构复杂的问题,研制出一种全新结构的CT机主旋转轴承(图23),达到了简化工艺,降低成本和提高可靠性的效果。该轴承能够满足第3代CT机主轴承的使用要求,整体性能达到国际先进水平。

图23 CT机主旋转轴承结构示意图
Fig.23 Structure diagram of main rotary bearing for CT machine
7.3 CT机主轴承关键技术
7.3.1 钢丝滚道轴承
1)钢丝滚道轴承特性的接触力学分析、失效机理、寿命评估与计算的理论依据和经验数据;
2)失效机理研究需要的大量数据及长期的失效分析积累;
3)研究轴承服役寿命的评估与计算方法,建立数据仿真分析的物理模型及数学模型;
4)开发钢丝滚道的热处理和机加工技术;
5)在考虑原理与设计,制造过程的技术水平和服役运行的维护保养等因素的基础上,研究确保精准诊断的运转噪声控制技术;
6)影响CT机运转刚性的轴承游隙调整和装配技术。
7.3.2 等截面薄壁轴承
1)结构参数优化设计技术;
2)加工技术;
3)精密装配技术;
4)保持架结构与材料研究;
5)密封结构研究;
6)润滑剂研制;
7)套圈的非接触测量技术;
8)轴承综合性能评价技术。
7.4 CT机主轴承的市场需求
2020年全球CT机产销量为11 000台,每台需配1套主轴承,洛阳LYC轴承有限公司CT机主轴承全球市场份额约10%。由于国产CT机主轴承进入市场,CT机主轴承国内售价已由每套3.5万元降为1.5万元。
医用CT机配套轴承还将较长时期保持钢丝滚道和等截面薄壁这2种结构型式,更优秀的替代产品(气悬浮结构)还不够成熟。
(参考文献略)
来源:《轴承》2022年1期(节选)
轴研所公众号 轴承杂志社公众号




